Trong hệ thống cấp nước, việc duy trì áp suất ổn định đóng vai trò thiết yếu nhằm đảm bảo hiệu suất vận hành cũng như kéo dài tuổi thọ thiết bị. Van giảm áp, với khả năng kiểm soát áp lực một cách chính xác, là lựa chọn lý tưởng giúp hệ thống hoạt động bền bỉ và an toàn.
Van giảm áp là gì?

Van giảm áp, còn được biết đến với tên gọi van chỉnh áp hoặc van điều áp, là van điều khiển giúp làm áp suất của nước, giữ cho áp suất đầu ra của van thấp hơn áp suất tại đầu vào trong một hệ thống.
Chẳng hạn như dòng van giảm áp TLSH-France, là thiết bị chuyên dùng để hạ áp suất nước tại đầu ra trước khi nước đi vào hệ thống sử dụng.
Mục đích chính của thiết bị này là ngăn chặn áp lực nước quá cao, từ đó giảm thiểu nguy cơ vỡ đường ống và bảo vệ các thiết bị trong nhà. Van giảm áp đóng vai trò quan trọng trong việc đảm bảo tính an toàn và nâng cao độ bền cho toàn bộ hệ thống cấp nước.
Van giảm áp được chia thành hai loại chính:
• Van giảm áp trực tiếp: Tác động trực tiếp áp suất đầu ra cửa van thông qua núm điều chỉnh trên thân van. Ưu điểm là vận hành ổn định, giá thành thấp và dễ thao tác. Tuy nhiên, loại van này chỉ phù hợp với đường ống có đường kính không quá 4 inch. Những hệ thống có kích cỡ lớn hơn cần lựa chọn loại khác.
• Van giảm áp gián tiếp: Điều chỉnh áp suất thông qua 2 van chính & van phụ (bộ điều khiển phụ - van pilot). Van có thiết kế chắc chắn, chịu được áp suất cao và thích hợp với hệ thống đường ống quy mô lớn. Nhược điểm là giá thành cao hơn và yêu cầu kỹ thuật lắp đặt phức tạp hơn van trực tiếp.
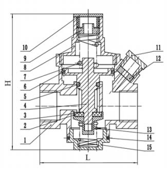
Cấu tạo của van giảm áp

Van giảm áp là một thiết bị công nghiệp quan trọng trong các hệ thống dẫn nước, đảm bảo ổn định áp suất và ngăn ngừa hư hại do áp suất vượt mức.
Các bộ phận chính trong cấu tạo của van gồm:
• Thân van: Được chế tạo từ đồng, inox hoặc nhựa chịu áp, có nhiệm vụ bảo vệ các linh kiện bên trong và kết nối với đường ống.
• Lò xo: Dùng để điều chỉnh áp lực nước thông qua một ốc siết. Độ đàn hồi của lò xo ảnh hưởng đến áp suất nước đầu ra.
• Mang van: Duy trì dòng chảy và điều tiết áp lực nước, thường làm từ cao su đàn hồi.
• Piston / đĩa van: Mở hoặc đóng dòng nước tùy vào thay đổi áp lực và tác động từ lò xo.
• Ốc điều chỉnh: Điều chỉnh độ nén của lò xo, từ đó kiểm soát áp suất đầu ra.
• Ốc cố định: Giữ chắc chắn vị trí cài đặt van, đảm bảo ổn định áp cửa ra của van.
• Nắp chụp: Bảo vệ linh kiện bên trong khỏi bụi bẩn, nước và các tác động từ môi trường ngoài.
Nguyên lý hoạt động
Tương tự như van giảm áp mặt bích, nguyên lý chính của van là giữ cho áp suất đầu ra luôn thấp hơn áp suất đầu vào, nhằm duy trì sự ổn định cho hệ thống và ngăn ngừa hỏng hóc.
Khi dòng nước có áp cao đi vào van, nước sẽ đi qua piston được điều tiết bởi lực nén của lò xo. Nếu lực nén nhỏ, piston mở rộng cho dòng nước đi qua nhiều hơn, khiến áp suất tăng. Ngược lại, khi lực nén tăng, piston hạn chế lưu lượng dòng nước, từ đó hạ áp suất đầu ra và tạo dòng chảy ổn định.
Ứng dụng của van giảm áp
Van giảm áp hiện được sử dụng rộng rãi trong nhiều lĩnh vực để kiểm soát áp lực, tối ưu hiệu suất và kéo dài tuổi thọ thiết bị. Một số ứng dụng điển hình gồm:
• Hệ thống nước hộ gia đình: Ổn định áp lực từ nguồn trước khi vào nhà, ngăn tình trạng rò rỉ hoặc hỏng hóc do áp lực cao.
• Tòa nhà và chung cư: Đảm bảo áp suất đều ở các tầng, tránh hiện tượng áp cao ở tầng thấp và áp yếu ở tầng trên.
• Nhà máy, khu công nghiệp: Duy trì áp lực ổn định cho hệ thống làm mát, rửa thiết bị hoặc các quy trình sản xuất.
• Hệ thống tưới tiêu: Điều chỉnh áp lực phù hợp với từng loại hình tưới như nhỏ giọt, phun sương, giúp tiết kiệm nước và tăng hiệu quả canh tác.
• Hệ thống phòng cháy chữa cháy: Đảm bảo nguồn nước cứu hỏa luôn có áp suất và lưu lượng thích hợp khi cần sử dụng.
Van giảm áp giữ vai trò quan trọng trong hệ thống cấp nước, giúp toàn bộ quá trình vận hành an toàn và ổn định hơn. Chọn đúng loại van sẽ giúp tăng tuổi thọ thiết bị và giảm chi phí vận hành, bảo dưỡng.
Hướng dẫn lắp đặt và điều chỉnh van giảm áp đúng kỹ thuật
Việc lắp đặt và điều chỉnh van đúng cách là yếu tố then chốt đảm bảo hiệu quả hoạt động của hệ thống.
Cách lắp đặt van:
• Xác định vị trí phù hợp theo yêu cầu hệ thống.
• Khóa nguồn cấp nước.
• Cắt ống tại vị trí lắp, vệ sinh sạch sẽ bề mặt cắt.
• Xác định đúng chiều dòng nước (có ký hiệu mũi tên trên thân van) và kiểm tra núm chỉnh áp.
• Quấn băng keo vào ren, vặn van vào vị trí. Siết vừa phải bằng cờ lê, tránh làm hỏng ren.
• Kết nối các phụ kiện như đồng hồ áp suất nếu có.
• Mở van chính từ từ để kiểm tra rò rỉ và đảm bảo hoạt động bình thường.
• Cố định van và ống dẫn để hệ thống ổn định lâu dài.
Cách điều chỉnh áp suất:
• Mở nắp chụp, dùng dụng cụ tháo ốc cố định.
• Xoay ốc điều chỉnh để tăng/giảm áp suất, đồng thời theo dõi trên đồng hồ.
• Siết ốc cố định sau khi đạt mức áp suất mong muốn.
• Đóng lại nắp chụp van như ban đầu.
Lưu ý khi sử dụng van giảm áp
Để đảm bảo hiệu quả sử dụng lâu dài, bạn nên lưu ý:
• Chọn loại van phù hợp với áp lực và lưu lượng của hệ thống.
• Thường xuyên kiểm tra để phát hiện sự cố kịp thời.
• Vệ sinh định kỳ để ngăn tắc nghẽn do cặn bẩn.
• Lắp đúng chiều dòng chảy và theo khuyến nghị kỹ thuật.
• Bảo trì định kỳ theo quy định để tăng tuổi thọ van.
• Không điều chỉnh áp suất quá thấp làm ảnh hưởng đến lưu lượng nước.
• Dùng van chất lượng cao, vật liệu bền với môi trường và áp lực.
• Đóng kín van khi không sử dụng hoặc khi bảo trì.
• Lắp van lọc Y ở đầu vào để ngăn tạp chất, bảo vệ van.
• Vệ sinh định kỳ lỗ pilot nếu có, tránh tắc nghẽn.
• Thay thế lò xo khi thấy có hiện tượng điều chỉnh áp không đạt.
Đại Nam – Địa chỉ cung cấp van giảm áp uy tín
Công ty Đại Nam là đơn vị chuyên cung cấp các loại van công nghiệp, trong đó có van giảm áp chất lượng cao. Với kinh nghiệm lâu năm, Đại Nam đảm bảo mang đến sản phẩm đạt tiêu chuẩn, chính hãng, giúp người dùng duy trì ổn định áp suất và bảo vệ hệ thống hiệu quả.
Lý do nên chọn Đại Nam:
• Cung cấp sản phẩm chính hãng từ thương hiệu uy tín.
• Đội ngũ tư vấn nhiệt tình, hỗ trợ chọn đúng loại van phù hợp.
• Hướng dẫn kỹ thuật lắp đặt và sử dụng chi tiết.
• Mức giá hợp lý cho cả cá nhân và đơn vị thi công lớn.
Đại Nam luôn lấy sự hài lòng của khách hàng làm tiêu chí hàng đầu. Nếu bạn đang cần tìm van giảm áp chất lượng, hãy liên hệ để được hỗ trợ sớm nhất.
Với vai trò điều tiết áp suất và bảo vệ hệ thống, van giảm áp là thiết bị không thể thiếu. Lựa chọn đúng loại van, lắp đặt và bảo dưỡng đúng cách sẽ giúp nâng cao hiệu suất hoạt động và giảm thiểu chi phí vận hành trong thời gian dài.

