Van bướm tay quay vận hành nhờ lực tác động vào tay quay, khiến đĩa van xoay vuông góc với thân van, tạo điều kiện cho môi chất lưu thông qua hệ thống. Nhờ bộ trợ lực tích hợp bên trong tay quay, việc vận hành van nhẹ nhàng hơn so với van bướm tay gạt, đồng thời vẫn có thể điều chỉnh góc quay của đĩa van từ 0 đến 90 độ để kiểm soát lưu lượng dòng chảy hiệu quả.
Thông số của van bướm tay quay
Trên mỗi thiết bị đều được ghi rõ các thông số kỹ thuật quan trọng, quyết định việc lựa chọn van phù hợp cho hệ thống. Một số thông số cần lưu ý gồm:
- Kích cỡ sản phẩm: DN50 – DN600, tương ứng với đường kính ống, giúp lắp đặt van phù hợp vào hệ thống.
- Nhiệt độ làm việc: Tối đa +110°C, là ngưỡng nhiệt độ hoạt động an toàn cho van.
- Áp lực làm việc: Các mức phổ biến là 10PN, 16PN, 25PN (tương đương 10, 16, 25, 40 bar), thể hiện khả năng chịu áp lực của van.
- Kiểu kết nối: Wafer, tai bích (Lug), mặt bích — tùy thuộc vào hệ thống đường ống và mục đích lắp đặt.
- Tiêu chuẩn: EN1092, đảm bảo chất lượng và độ an toàn.
- Môi trường hoạt động: Phù hợp với nước sạch, nước thải, gas, xăng, khí và các loại hóa chất.
- Vật liệu chế tạo: Thân, đĩa, trục thường làm từ inox 304, 316 hoặc gang.
- Gioăng làm kín: EPDM, PTFE, NBR – vật liệu vòng làm kín giữa thân và đĩa van.
- Xuất xứ: Châu Âu /Châu Á
Các loại van bướm tay quay phổ biến

Van bướm tay quay đa dạng về chất liệu, kiểu kết nối và nguồn gốc sản xuất, mỗi loại có ưu nhược điểm riêng, phù hợp với từng môi trường và loại môi chất khác nhau.
Phân loại theo chất liệu:
- Gang: Phổ biến nhất nhờ độ bền tốt, giá thành rẻ, phù hợp cho nước sạch và khí nén. Tuy nhiên, khả năng chịu nhiệt và áp lực không cao, dễ bị cong vênh khi va đập mạnh.
- Thép: Thích hợp cho môi trường có áp suất và nhiệt độ cao, chịu lực tốt nhưng chi phí cao và trọng lượng nặng.
- Inox (304, 316L): Ứng dụng rộng rãi trong y tế, cấp nước sạch và hóa chất, chịu nhiệt lên tới 200ºC, chống mài mòn và chịu lực tốt.
- Kết hợp vật liệu: Ví dụ thân gang, đĩa inox giúp tận dụng ưu điểm cả hai chất liệu, tối ưu hiệu quả vận hành.
Phân loại theo kiểu kết nối:
- Kiểu kẹp Wafer: Phổ biến nhất, đơn giản, chi phí thấp, thường dùng cho đường ống vừa và nhỏ, cố định van bằng bulong siết chặt giữa hai mặt bích.
- Kiểu tai bích (Lug): Có nhiều lỗ ren trên thân van để cố định chắc chắn với mặt bích, đảm bảo làm kín tốt, hạn chế rò rỉ.
- Tai bích rút gọn (Semi Lug): Có 4 lỗ xỏ bulong đối xứng gần trục quay, cố định chắc chắn hơn kiểu wafer.
- Dạng hai mặt bích: Cố định chắc chắn và kín lưu chất nhất, dùng cho đường ống lớn hoặc môi chất có áp suất cao.
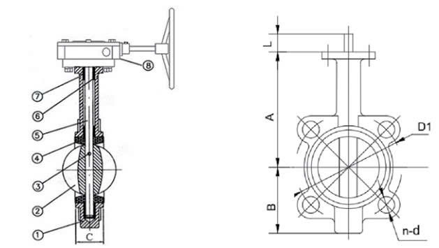
Cấu tạo của van bướm tay quay

Van bướm tay quay có thiết kế đơn giản, dễ nhận biết với đĩa van bên trong thân van và tay quay bên ngoài nối liền với trục quay.
Các bộ phận chính gồm:
- Thân van (Body): Vòng ngoài bao bọc đĩa, thường làm từ gang, thép có khả năng chịu nhiệt, áp lực và tác động bên ngoài.
- Đĩa van (Disc): Hình tròn đặt vừa trong thân, có trục xuyên qua để điều khiển đóng mở. Kích thước đĩa phải phù hợp để không gây rò rỉ hoặc cản trở dòng chảy quá mức.
- Trục (Stem): Thanh kim loại đúc đặc nối liền thân, đĩa và tay quay, chịu lực và truyền động mô men xoắn.
- Gioăng làm kín (Seal Ring): Vật liệu đàn hồi như EPDM, PTFE, giảm ma sát, ngăn rò rỉ lưu chất khi vận hành.
- Vòng làm kín (Gasket): Nằm giữa thân van và hộp số, giúp vận hành nhẹ nhàng.
- Hộp số (Box): Chứa bộ truyền động bánh răng trợ lực, giúp truyền mô men từ tay quay đến trục van, có bảng tín hiệu trạng thái đóng/mở rõ ràng.
- Tay quay (Handwheel): Phần điều khiển chính, kết nối với hộp số để điều khiển góc mở van. Trên tay quay thường có mũi tên chỉ hướng mở/đóng.
- Các bộ phận phụ khác: Bu lông, vít...
Nguyên lý hoạt động của van bướm tay quay
Van vận hành dựa trên nguyên lý quay tay quay, truyền mô men xoắn từ tay quay qua hộp số bánh răng đến trục van, làm đĩa van xoay từ 0 đến 90 độ để đóng hoặc mở dòng chảy.
Ở trạng thái đóng, đĩa van song song với thân van, không cho lưu chất qua, tay quay ở vị trí ban đầu và bảng tín hiệu hiển thị trạng thái “off”. Khi mở, người vận hành quay tay quay theo chiều mũi tên, đĩa van xoay vuông góc với thân van, dòng chảy đạt tối đa. Việc điều chỉnh lưu lượng có thể thực hiện bằng cách xoay tay quay để đĩa van có góc nhỏ hơn 90 độ.
Bộ trợ lực trong hộp số giúp giảm sức lực cần thiết, giúp vận hành dễ dàng dù van có kích thước lớn.
Ưu và nhược điểm của van bướm tay quay
Ưu điểm:
- Cấu tạo và vận hành đơn giản, dễ lắp đặt trên nhiều hệ thống.
- Chi phí lắp đặt, vận hành thấp.
- Phù hợp với nhiều loại môi chất: khí, nước sạch, chất thải…
- Tiết kiệm không gian, phù hợp vị trí khó tiếp cận.
- Dễ dàng thay thế linh kiện.
- Bộ trợ lực giúp vận hành nhẹ nhàng.
- Khả năng điều tiết lưu lượng tốt, phù hợp đường ống đến DN600.
- Vận hành thủ công không cần hệ thống điều khiển điện.
- Vật liệu đạt tiêu chuẩn quốc tế, phù hợp môi trường nước sạch.
- Bảo trì, vệ sinh đơn giản, ít phải sửa chữa.
Nhược điểm:
- Không thích hợp với đường ống nhỏ DN < 50.
- Độ bền giảm khi sử dụng lâu do cơ chế làm kín tiếp xúc toàn bộ chu vi đĩa van.
- Không phù hợp với áp suất quá cao.
- Khi mở hoàn toàn, đĩa van vẫn cản dòng, lưu lượng không đạt 100%.
Ứng dụng của van bướm tay quay
Van bướm tay quay với các ưu điểm như điều tiết dòng chảy của môi chất ổn định, khả năng đóng mở nhanh, chi phí lắp đặt thấp, độ bền ổn, không tốn quá nhiều sức lực khi vận hành nên được ưu tiên sử dụng trên rất nhiều hệ thống đường ống trong rất nhiều lĩnh vực. Van có thể sử dụng trên cả các đường ống lớn nhỏ nên có thể dùng trên các hệ thống đường ống trong tòa nhà hay các hệ thống sản xuất ở nhà máy.
Cụ thể, các ứng dụng phổ biến nhất của van bướm tay quay như:
- Sử dụng trên các hệ thống cung cấp nước sạch và nước thải.
- Dùng phổ biến trên các hệ thống thủy điện.
- Dùng trên hệ thống sản xuất nước ngọt, nước đóng chai, sữa, nước khoáng,….
- Dùng hệ thống dẫn dầu và cung cấp nguyên liệu.
- Dùng trên hệ thống tàu biển.
- Dùng phù hợp trên cả các hệ thống dẫn dầu, dẫn khí nén có khả năng bắt lửa cao.
Nên chọn van bướm tay quay hay tay gạt?
Cả hai loại đều phổ biến, sử dụng để đóng mở và điều tiết lưu lượng trên hệ thống đường ống. Tuy nhiên lựa chọn phụ thuộc vào nhiều yếu tố:
• Kích thước đường ống (tay quay thích hợp cho đường ống lớn hơn)
• Chi phí đầu tư
• Áp suất, môi chất sử dụng
• Vị trí lắp đặt
Việc lựa chọn nên có sự tư vấn kỹ thuật từ chuyên gia để đảm bảo hiệu quả và phù hợp nhất.
Các lỗi thường gặp và cách khắc phục khi sử dụng van bướm tay quay
Bất cứ thiết bị máy móc nào cũng có thể phát sinh những lỗi trong quá trình vận hành và sử dụng, điều này là không thể tránh khỏi đặc biệt với các thiết bị cần vận hành thường xuyên như van bướm tay quay. Phát hiện và xử lý sớm các lỗi của thiết bị rất quan trọng để không gây ra các sự cố lớn hơn có thể ảnh hưởng trực tiếp đến quá trình vận hành của hệ thống và sự an toàn của người vận hành.
Cụ thể, một số lỗi thường phát sinh ở van bướm tay quay và cách khắc phục như sau:
- Tay quay không hoạt động hoặc khó xoay: Phần kết nối tay quay với thân van nếu có khe hở giữa các rãnh ren tại phía trong tay quay và phía ngoài trục van có thể khiến tay quay không thể quay được hoặc quay nhưng các bộ phận khác không hoạt động, cách xử lý đơn giản là tháo lắp tay quay khỏi trục để lắp đặt lại. Một số nguyên nhân khác có thể do có bụi bẩn kẹt trong phần tay quay sau một thời gian dài sử dụng.
- Thiếu dầu nhớt bôi trơn: Đây là nguyên nhân gây ra hàng loạt vấn đề ở van bướm tay quay như tiếng kêu khi vận hành máy, trục van hoặc tay quay hay đĩa van cũng vận hành kém hiệu quả. Do đó cần phải nhanh chóng tra dầu nhớt và cũng cần bảo dưỡng, thêm chất bôi trơn thường xuyên để van vận hành trơn tru hơn.
- Có rác, tạp chất trong hệ thống đường ống: Nguyên nhân khiến đĩa van không thể quay hết góc, bị hở góc, không thể trở về trạng thái đóng hoàn toàn hoặc xoay chậm. Tình trạng này rất dễ gặp trên các hệ thống nước thải có chứa nhiều tạp chất nên cần vệ sinh thường xuyên hơn.
- Lỗi ở gioăng làm kín: Gioăng thường được làm từ các chất liệu cao su, chất liệu mềm dẻo nên sau một thời gian sử dụng không tránh khỏi tình trạng bị mài mòn, giãn quá mức gây mất độ đàn hồi. Điều này có thể làm các môi chất bị rò rỉ nên cách xử lý tốt nhất là thay mới gioăng nhanh chóng.
- Siết bulong hay đai ốc chưa chặt: Cũng có thể là nguyên nhân khiến cho các môi chất bị rò rỉ, thậm chí làm ảnh hưởng đến cả một quá trình vận hành của hệ thống Gear Butterfly Valve nên cần phải chú ý hơn.
- Vòng làm kín bị biến dạng: Nguyên nhân có thể do việc lắp đặt vòng không chính xác hoặc đĩa van ma sát thường xuyên với van trong các góc mở không phù hợp. Cách xử lý tốt nhất là cần thay mới vòng làm kín cho van.
Lưu ý trong lắp đặt và vận hành van bướm tay quay
Trong quá trình lắp đặt và vận hành van bướm tay quay cũng cần lưu ý các vấn đề sau để đảm bảo thiết bị hoạt động chính xác, an toàn và hiệu quả nhất.
- Cấu tạo của Van bướm tay quay dù không quá phức tạp nhưng cũng có nhiều chi tiết, đặc biệt trong phần hộp số nên cần phải thận trọng khi lắp đặt, tránh sai sót.
- Khi thực hiện lắp đặt cần đặt đĩa van xoay góc 1/4 để tránh nguy cơ làm gioăng làm kín bị biến dạng trong lúc siết chặt sẽ tăng nguy cơ lưu chất rò rỉ khi đi qua hệ thống.
- Kích thước hai đầu đường ống gắn van hay mặt bích liên kết trực tiếp với van bướm quay tay phải bằng nhau.
- Khoảng cách giữa hai mặt bích phải là vừa đủ chiều dày van để tránh làm các miếng đệm bị biến dạng.
- Siết bu lông chặt theo mặt phẳng, siết đều các bu lông, đúng kích thước vì nếu ốc lỏng sẽ vừa làm van vận hành không hiệu quả, rò rỉ môi chất thậm chí gây nguy hiểm cho những người sử dụng.
- Van bướm tay quay không đòi hỏi phải bảo dưỡng liên tục nhưng vẫn nên tuân thủ đúng thời gian vệ sinh, kiểm tra máy định kỳ để sớm phát hiện các hư hỏng hay lỗi, từ đó có hướng khắc phục từ sớm để tránh các sự cố không mong muốn khác nguy hiểm hơn.
Van bướm tay quay xuất hiện rất nhiều trên hệ thống đường ống dẫn nước sạch mà chúng ta sử dụng mỗi ngày nên không còn quá xa lạ. Tuy nhiên không phải hệ thống đường ống nào cũng sử dụng loại van này phù hợp & hiệu quả, cần tham khảo ý kiến từ các kỹ sư hay những người có chuyên môn trước khi sử dụng cho dự án.
