1. Van báo cháy là gì?
Van báo cháy, hay còn gọi là van báo động (Alarm Valve), là một thiết bị an toàn quan trọng trong hệ thống chữa cháy sprinkler – hệ thống phun nước tự động. Đây là một loại van một chiều đặc biệt có chức năng kiểm soát dòng nước và kích hoạt hệ thống cảnh báo khi xảy ra hỏa hoạn.
Khi một đầu phun sprinkler bị kích hoạt bởi nhiệt độ cao (do lửa), áp lực nước trong đường ống sẽ thay đổi và làm mở van báo cháy. Khi đó, nước không chỉ được cấp đến các đầu phun mà còn đi qua chuông nước hoặc công tắc áp suất, phát ra tín hiệu báo động tại chỗ hoặc từ xa (thường kết nối với hệ thống báo cháy trung tâm).
Van báo cháy thường được đặt tại nơi dễ tiếp cận, gần tủ máy bơm, và là một phần không thể thiếu trong thiết kế hệ thống phòng cháy chữa cháy tự động đạt tiêu chuẩn NFPA, TCVN hoặc các quy chuẩn quốc tế khác.
2. Vai trò và tầm quan trọng của van báo cháy trong hệ thống PCCC
Van báo cháy không chỉ đơn thuần là một thiết bị dẫn nước; nó thực hiện đồng thời ba chức năng quan trọng:
- Kiểm soát dòng chảy: Cho phép nước đi theo một chiều từ nguồn cấp đến các đầu phun, ngăn nước chảy ngược có thể gây nhiễm bẩn nguồn cấp hoặc hư hỏng hệ thống.
- Phát hiện và cảnh báo cháy: Khi có dòng nước lưu thông (do sprinkler mở), van sẽ kích hoạt chuông nước hoặc công tắc áp suất, phát tín hiệu cảnh báo khẩn cấp.
- Bảo vệ hệ thống: Giúp duy trì áp lực ổn định trong đường ống, bảo vệ thiết bị khác như máy bơm, van điều khiển, đồng hồ áp suất không bị quá tải hoặc hoạt động sai lệch.
Trong các tình huống khẩn cấp, thời gian là yếu tố sống còn. Van báo cháy đóng vai trò như “bộ não phản xạ” của hệ thống sprinkler: kích hoạt nhanh – báo động tức thời – phản ứng kịp lúc. Việc không trang bị hoặc sử dụng van báo cháy sai cách có thể dẫn đến hậu quả nghiêm trọng, gây thiệt hại về người và tài sản.
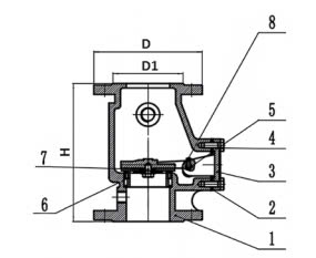
3. Cấu tạo chi tiết của van báo cháy
Mặc dù mỗi nhà sản xuất có thể điều chỉnh thiết kế riêng, nhưng nhìn chung, một van báo cháy tiêu chuẩn gồm các bộ phận sau:


|
Thành phần |
Chức năng chính |
|
Thân van chính |
Là phần bao bọc và định hình dòng nước; thường đúc bằng gang dẻo, phủ sơn epoxy để chống ăn mòn và chịu áp lực cao. |
|
Nắp van (bonnet) |
Che chắn bộ phận bên trong, dễ tháo lắp để bảo trì hoặc kiểm tra. |
|
Đĩa van (clapper) |
Đóng mở theo áp lực dòng chảy, cho phép nước đi qua một chiều. |
|
Đồng hồ áp suất |
Theo dõi áp suất nước đầu vào và đầu ra, giúp phát hiện rò rỉ hoặc tắc nghẽn. |
|
Chuông nước (Water Motor Gong) |
Thiết bị phát tín hiệu cảnh báo bằng âm thanh khi có nước chảy qua. |
|
Công tắc áp suất (Pressure Switch) |
Gửi tín hiệu về trung tâm báo cháy hoặc tủ điều khiển bơm khi hệ thống hoạt động. |
|
Ống thăm (Test Connection) |
Dùng để mô phỏng tình huống cháy, kiểm tra hoạt động của van và hệ thống cảnh báo. |
4. Nguyên lý hoạt động của van báo cháy
Van báo cháy hoạt động theo nguyên lý thủy lực đơn giản nhưng hiệu quả:
-
Trạng thái bình thường:
- Áp suất nước trong đường ống sprinkler và phía sau van được cân bằng.
- Đĩa van giữ ở vị trí đóng, ngăn nước chảy.
- Chuông và công tắc áp suất không hoạt động.
-
Khi phát sinh cháy:
- Nhiệt độ tăng cao làm vỡ bóng thủy tinh hoặc miếng kim loại trên đầu sprinkler.
- Nước phun ra từ sprinkler, tạo dòng chảy mạnh về phía hệ thống.
- Dòng chảy này phá vỡ trạng thái cân bằng, đĩa van mở ra.
-
Kích hoạt báo động:
- Nước chảy qua van, một phần nước chảy qua bình trễ làm quay bánh xe gắn với chuông nước → phát ra âm thanh cảnh báo.
- Áp suất thay đổi kích hoạt công tắc áp suất → gửi tín hiệu điện đến hệ thống báo cháy trung tâm, máy bơm hoặc hệ thống SCADA.
-
Sau khi dập tắt cháy:
- Khi không còn dòng nước chảy, van tự động trở về trạng thái đóng.
- Chuông và công tắc ngừng hoạt động, hệ thống trở lại chế độ sẵn sàng.
5. Thông số kỹ thuật phổ biến của van báo cháy
|
Thông số kỹ thuật |
Giá trị tiêu chuẩn |
|
Kích thước van |
DN80, DN100, DN125, DN150, DN200 |
|
Chất liệu thân van |
Gang dẻo (Ductile iron) |
|
Áp suất làm việc |
16 bar |
|
Nhiệt độ làm việc |
0°C đến 100°C |
|
Kết nối đường ống |
Mặt bích |
|
Tiêu chuẩn áp dụng |
EN 1092-2 |
6. Phân loại van báo cháy
Theo môi trường hoạt động:
- Van báo cháy ướt (Wet Alarm Valve):
Hoạt động với nước luôn có sẵn trong hệ thống. Thường dùng cho khu vực có nhiệt độ ổn định, không dưới 4°C như văn phòng, nhà xưởng, chung cư cao tầng. - Van báo cháy khô (Dry Alarm Valve):
Trong hệ thống chứa khí nén hoặc khí trơ (thường là Nitơ). Khi sprinkler vỡ, khí thoát ra trước rồi nước mới được cấp vào. Dùng cho khu vực có khả năng đóng băng như bãi xe ngoài trời, kho lạnh.
Theo kiểu lắp đặt:
- Van đứng (Vertical Type):
Lắp đặt cho hệ thống đường ống đứng, tiết kiệm diện tích. - Van ngang (Horizontal Type):
Phù hợp với hệ thống ống nằm ngang, dòng chảy mượt hơn.
7. Ưu điểm nổi bật của van báo cháy
- Phản ứng nhanh chóng khi xảy ra cháy, giúp cảnh báo sớm và hạn chế thiệt hại.
- Tự động vận hành, không cần nhân công thao tác thủ công.
- Đa dạng kích thước, chất liệu và kiểu lắp đặt, phù hợp với nhiều loại công trình.
- Độ bền cao, ít hư hỏng, dễ bảo trì.
- Tích hợp dễ dàng với các hệ thống báo cháy trung tâm, hệ thống điều khiển từ xa hoặc SCADA.
8. Ứng dụng thực tế
Van báo cháy là thành phần quan trọng trong hệ thống chữa cháy tự động của nhiều công trình:
- Tòa nhà cao tầng, chung cư, khách sạn
- Nhà máy sản xuất, xưởng công nghiệp
- Kho hàng, trung tâm logistics
- Trường học, bệnh viện, trung tâm thương mại
- Bãi xe tầng hầm, nhà để xe ngoài trời
- Cơ sở hạ tầng có yêu cầu phòng cháy cao như trạm biến áp, phòng máy chủ, trạm dầu khí,...
9. Hướng dẫn lắp đặt van báo cháy

Trước khi lắp đặt:
- Lựa chọn được loại van có kích thước và phương thức kết nối phù hợp với hệ thống.
- Chuẩn bị các loại phụ kiện đi kèm như mặt bích, gioăng làm kín, bulông, … đầy đủ.
- Ngắt kết nối hoàn toàn hệ thống và làm sạch đường ống trước khi tiến hành lắp đặt.
- Làm sạch thân van, kiểm tra lại các bộ phận bên trong có bị lỗi hay không.
Tiến hành lắp đặt:
- Lắp đặt van theo đúng hướng thiết bị và hệ thống.
- Lắp đặt theo thứ tự từ van báo động, đồng hồ đo áp suất, công tắc áp suất rồi đến chuông báo.
- Lắp đặt buồng hãm nếu áp suất hệ thống thay đổi, còn ngược lại thì không cần.
- Kết nối chuông nước với đường ống kết nối chuông
- Tiến hành vặn siết các thiết bị, phụ kiện nối, gioăng làm kín cho đến khi chắc chắn hoàn toàn.
Sau khi lắp đặt:
- Sau khi lắp đặt, hãy kiểm tra một lượt xem thiết bị được gắn hết đầy đủ chưa, các mối nối đã kết nối chắc chắn chưa.
- Tiến hành xả van để kiểm tra cảnh báo có hoạt động nhạy không, âm thanh cảnh báo có đủ lớn không.
- Quan sát xem van có xảy ra tình trạng rò rỉ, nếu có thì kiểm tra lại vị trí và sửa chữa cho đến khi không còn rò rỉ nữa.
- Nếu đã đáp ứng hết những điều trên, thiết bị có thể được đưa vào hoạt động chính thức.
10. Hướng dẫn kiểm tra vận hành định kỳ van báo cháy
Việc kiểm tra định kỳ van báo cháy là yêu cầu bắt buộc theo tiêu chuẩn PCCC (TCVN, NFPA 25) nhằm đảm bảo van hoạt động ổn định, không bị kẹt, rò rỉ hay mất tín hiệu báo động. Lịch kiểm tra nên được thực hiện theo chu kỳ: hàng tuần, hàng tháng, hàng quý và hàng năm, tùy theo mức độ rủi ro và quy mô hệ thống.
10.1. Kiểm tra hàng tuần (tuần 1 – tuần 4)
- Quan sát bên ngoài:
- Đảm bảo không có dấu hiệu ăn mòn, rò rỉ, nước đọng tại chân van.
- Kiểm tra tem kiểm định, nhãn nhận diện rõ ràng.
- Đọc đồng hồ áp suất:
- Áp suất đầu vào và đầu ra phải phù hợp với thiết kế (thường 7–12 bar).
- Áp suất chênh lệch bất thường có thể do van kẹt hoặc tắc đường ống.
- Kiểm tra niêm phong, khóa van:
- Van báo cháy phải luôn mở, niêm phong nguyên vẹn, tránh bị vô tình đóng lại.
10.2. Kiểm tra hàng tháng
- Thử chuông nước bằng tay hoặc van kiểm tra (test valve):
- Mở nhẹ van thử để nước chảy qua → chuông nước phải reo rõ ràng.
- Đồng thời công tắc áp suất phải gửi tín hiệu về tủ trung tâm hoặc kích hoạt báo động (nếu có).
- Kiểm tra công tắc áp suất:
- Xác nhận tình trạng kết nối điện, kiểm tra tiếp điểm relay bằng đồng hồ vạn năng.
10.3. Kiểm tra hàng quý
- Thử hoạt động hệ thống ở trạng thái giả lập:
- Mở van thử (test drain) trong thời gian dài hơn để mô phỏng xả nước thực tế.
- Quan sát tốc độ mở van, tiếng chuông, áp suất rơi, hồi phục áp suất sau khi đóng lại.
- Làm sạch lưới lọc hoặc bộ phận cặn (nếu có):
- Đặc biệt quan trọng nếu hệ thống dùng nước giếng khoan hoặc bồn nước dự trữ lâu ngày.
10.4. Kiểm tra hàng năm
- Bảo dưỡng toàn bộ hệ thống sprinkler có van báo cháy:
- Tháo nắp van, kiểm tra gioăng, đĩa van, lò xo, trục.
- Bôi trơn nhẹ nếu cần, thay thế phụ tùng bị mòn hoặc rỉ sét.
- Hiệu chỉnh lại công tắc áp suất và tín hiệu điều khiển từ xa nếu có sai lệch.
- Kiểm định lại toàn bộ cụm van nếu đã quá thời hạn quy định (3–5 năm).
10.5. Lưu ý khi kiểm tra vận hành
- Luôn thực hiện kiểm tra dưới sự giám sát của người có chuyên môn PCCC.
- Có cảnh báo khu vực trước khi xả thử để tránh gây hoang mang.
- Ghi chép chi tiết vào sổ nhật ký PCCC: thời gian, người kiểm tra, tình trạng thiết bị, xử lý nếu có lỗi.
- Nếu phát hiện sự cố (rò rỉ, mất tín hiệu, chuông không reo...), phải báo cáo và sửa chữa ngay, không chờ đến kỳ kiểm tra tiếp theo.
11. Kết luận
Van báo cháy là một thiết bị không thể thiếu trong các hệ thống phòng cháy chữa cháy hiện đại. Với thiết kế thông minh, hoạt động tự động và tích hợp nhiều chức năng cảnh báo, van không chỉ đảm bảo an toàn cho con người mà còn góp phần bảo vệ tài sản và giảm thiểu thiệt hại khi có sự cố cháy nổ xảy ra.
Việc chọn đúng loại van, lắp đặt đúng kỹ thuật và bảo trì định kỳ là yếu tố then chốt giúp hệ thống PCCC hoạt động hiệu quả và ổn định.
