Hỗ trợ tư vấn 1: 0383478272
Hỗ trợ tư vấn 2: 0979010683
Hỗ trợ tư vấn 3:
0986784306
Hỗ trợ tư vấn 4: 0989777682
Hỗ trợ kỹ thuật: 0977284799
Hỗ trợ tư vấn 1: 0383478272
Hỗ trợ tư vấn 2: 0979010683
Hỗ trợ tư vấn 3:
0986784306
Hỗ trợ tư vấn 4: 0989777682
Hỗ trợ kỹ thuật: 0977284799
1. Giới thiệu chung
Van góc giảm áp TPR-700AV nhãn hiệu TLSH-France là thiết bị chuyên dùng trong hệ thống chữa cháy, được thiết kế dạng góc 90°, có chức năng giới hạn áp suất đầu ra để đảm bảo an toàn cho vòi chữa cháy và thiết bị phụ trợ. Van vận hành bằng tay vặn (handwheel) kết hợp chốt an toàn, đáp ứng tiêu chuẩn BS 5041, thích hợp lắp đặt tại các trụ cấp nước hoặc hộp vòi chữa cháy trong nhà và ngoài trời.

2. Ứng dụng
3. Đặc điểm kỹ thuật
|
Thông số |
Giá trị |
|
Loại van |
Van góc giảm áp (Pressure Restricting Angle Valve) |
|
Kích thước danh định (DN) |
DN50 – DN65 |
|
Áp suất làm việc tối đa |
16 bar |
|
Áp suất thử thân (body) |
24 bar |
|
Áp suất thử đĩa (seat) |
17.6 bar |
|
Nhiệt độ làm việc tối đa |
+80°C |
|
Kết nối đầu vào |
Ren trong BSPT (Female BSPT) |
|
Kết nối đầu ra |
Ren ngoài (Male thread) |
|
Vận hành |
Tay quay (handwheel) + chốt an toàn |
|
Tiêu chuẩn thiết kế |
BS 5041 |
|
Tiêu chuẩn thử áp |
EN 12266-1 |
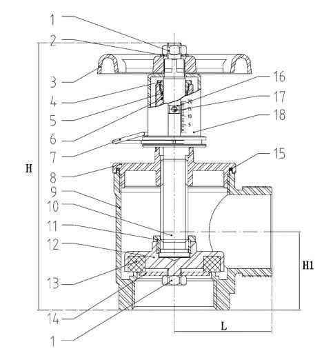
4. Vật liệu cấu tạo

|
STT |
Bộ phận |
Vật liệu |
|
3 |
Tay quay (Handwheel) |
Gang dẻo (Ductile iron) |
|
5,6 |
Vòng cao su (Rubber ring) |
NBR |
|
8 |
Đế (Seat) |
Đồng (Brass) |
|
9,10 |
Thân & ty (Body & Stem) |
Đồng (Brass) |
|
12 |
Đĩa van (Disc) |
Đồng (Brass) |
|
13,15 |
Gioăng kín (Gasket) |
NBR |
|
16 |
Lưới lọc (Sieve) |
Đồng (Brass) |
5. Kích thước tổng thể
|
DN (mm) |
Size (inch) |
L (mm) |
H (mm) |
H1 (mm) |
|
50 |
2" |
180 |
210 |
65 |
|
65 |
2-1/2" |
230 |
230 |
83 |
6. Ưu điểm nổi bật