1. Giới thiệu chung
Trong các hệ thống công nghiệp hiện đại, việc giám sát và kiểm soát trạng thái hoạt động của van là yếu tố then chốt nhằm đảm bảo an toàn và vận hành hiệu quả. Tuy nhiên, thực tế triển khai hệ thống cho thấy có rất nhiều vị trí lắp đặt van nằm ngoài tầm quan sát, chẳng hạn như ở trên cao, dưới hầm, khu vực chật hẹp hoặc vị trí bị che khuất. Đó là lúc van cổng tín hiệu điện trở thành lựa chọn tối ưu.
Van cổng tín hiệu điện là một loại van cổng đặc biệt được tích hợp thêm bộ công tắc giám sát trạng thái – một thiết bị cảm biến giúp truyền tín hiệu về trung tâm điều khiển. Nhờ đó, người quản lý có thể theo dõi chính xác trạng thái đóng/mở của van từ xa mà không cần kiểm tra trực tiếp tại hiện trường.
2. Van cổng tín hiệu điện là gì?


Van cổng tín hiệu điện (còn gọi là van cổng kèm công tắc giám sát) là phiên bản cải tiến của van cổng cơ học truyền thống. Về cơ bản, van vẫn vận hành theo nguyên lý cơ học thông thường, nhưng được tích hợp thêm một bộ cảm biến điện từ hoặc nam châm – thường gọi là công tắc giám sát.
Công tắc giám sát này có nhiệm vụ thu thập thông tin về trạng thái của van (đang mở hay đang đóng), sau đó truyền tín hiệu về trung tâm điều khiển – nơi nhân sự vận hành có thể dễ dàng giám sát và kiểm soát toàn bộ hệ thống.
Ứng dụng lý tưởng:
- Những vị trí đặt van quá cao, quá sâu hoặc bị hạn chế không gian quan sát.
- Hệ thống yêu cầu kiểm soát trạng thái đóng/mở van chặt chẽ.
- Các hệ thống tự động hoặc bán tự động cần tích hợp báo hiệu.
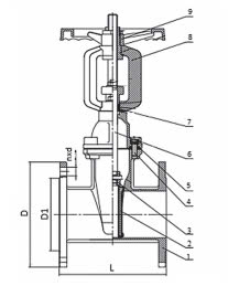
3. Cấu tạo và nguyên lý hoạt động
Cấu tạo của van cổng tín hiệu điện về cơ bản không khác biệt nhiều so với các loại van cổng truyền thống. Tuy nhiên, điểm nổi bật nhất chính là bộ công tắc giám sát được tích hợp để phục vụ mục đích thu thập và truyền tín hiệu.
Các bộ phận chính bao gồm:

- Thân van: Là phần chính chịu lực, thường được làm từ gang cầu hoặc inox.
- Nắp van: Che chắn và bảo vệ bộ truyền động bên trong.
- Cánh van (lá van): Là bộ phận trực tiếp đóng/mở dòng chảy.
- Ty van (trục van): Liên kết giữa cánh van và tay quay.
- Tay quay: Điều khiển thao tác đóng mở van bằng tay.
- Mặt bích: Nối van với đường ống thông qua bulong và đệm kín.
- Gioăng làm kín: Giúp ngăn ngừa rò rỉ lưu chất.
- Công tắc giám sát: Bộ cảm biến được lắp ở ty van hoặc nắp van, theo dõi vị trí của van và phát tín hiệu nếu có sự thay đổi vị trí van về trung tâm điều khiển.
Nguyên lý hoạt động:
Khi tay quay được vận hành để đóng hoặc mở van, ty van sẽ di chuyển lên hoặc xuống, kéo theo sự thay đổi vị trí của cánh van. Cảm biến từ hoặc công tắc giám sát nhận biết sự thay đổi này và lập tức gửi tín hiệu điện về tủ điều khiển trung tâm. Nhờ đó, trạng thái hoạt động của van luôn được cập nhật liên tục.
4. Thông số kỹ thuật điển hình
|
Hạng mục |
Thông số |
|
Dải kích thước |
DN50 – DN400 |
|
Vật liệu chế tạo |
Gang cầu, Thép không gỉ |
|
Kiểu kết nối |
Mặt bích tiêu chuẩn EN1092 |
|
Phương thức vận hành |
Tay quay |
|
Áp suất làm việc |
PN16, PN25 |
|
Nhiệt độ tối đa |
80°C (gang) |
|
Môi trường làm việc |
Nước sạch, nước thải, hóa chất, dầu, khí nén... |
|
Nguồn gốc sản phẩm |
Trung Quốc, EU |
5. Ứng dụng thực tế
Van cổng kèm công tắc giám sát được sử dụng rộng rãi trong nhiều lĩnh vực công nghiệp và dân dụng nhờ tính năng giám sát trạng thái hiệu quả:
- Hệ thống phòng cháy chữa cháy (PCCC): Giúp đảm bảo van luôn trong trạng thái sẵn sàng khi xảy ra hỏa hoạn.
- Mạng cấp thoát nước đô thị: Hỗ trợ kiểm soát lưu lượng dòng chảy.
- Hệ thống xử lý nước thải và hóa chất: Giám sát trạng thái van trong môi trường độc hại, không thể tiếp cận thường xuyên.
- Nhà máy lọc dầu, lọc hóa chất: Hạn chế rủi ro do thao tác sai trạng thái van.
- Nhà máy thủy điện, nhiệt điện: Van lắp đặt trong hầm hoặc trên cao cần được giám sát liên tục.
- Hệ thống tưới tiêu tự động, trạm bơm cấp nước...
6. Ưu điểm và nhược điểm
Ưu điểm:
- Giám sát từ xa hiệu quả: Truyền tín hiệu đóng – mở về trung tâm, giúp theo dõi chính xác tình trạng thiết bị.
- Chất liệu bền bỉ: Van làm từ gang hoặc inox cho khả năng chịu áp lực và nhiệt độ cao, chống ăn mòn tốt.
- Lắp đặt linh hoạt: Phù hợp cho nhiều vị trí khó tiếp cận hoặc khuất tầm nhìn.
- Dễ dàng tích hợp với hệ thống giám sát, SCADA.
- Hoạt động ổn định, dễ bảo trì, thay thế.
- Tiết kiệm chi phí nhân công giám sát thủ công.
Nhược điểm:
- Vẫn cần vận hành bằng tay quay nên tốc độ đóng/mở không bằng van điều khiển điện hoặc khí nén.
- Không thích hợp cho đường ống nhỏ hơn DN50.
- Yêu cầu nguồn điện và hệ thống trung tâm để nhận tín hiệu trạng thái.
7. Nên mua van cổng tín hiệu điện ở đâu?
Không khó để tìm nhà cung cấp van công nghiệp ở khu vực Hà Nội. Đây là khu vực phát triển mạnh về sản xuất công nghiệp, xây dựng,… nên nhu cầu về van và phụ kiện cũng không ngừng gia tăng. Rất nhiều nhà phân phối ra đời để có thể đáp ứng nhu cầu về vật tư cho các công trình.
Đại Nam là nhà phân phối van cổng tín hiệu điện chính hãng hiệu TLSH-France,… và có kinh nghiệm gần 20 năm hoạt động trên thị trường. Cũng nhờ vậy mà chúng tôi có lượng sản phẩm vô cùng dồi dào, đa dạng và giá bán cực kỳ tốt.
Nếu vẫn còn đang băn khoăn khi lựa chọn nhà phân phối van công nghiệp, những tiêu chí sau sẽ giúp bạn đọc đánh giá khách quan về uy tín và chất lượng của Đại Nam:
- Vị thế dẫn đầu với gần 20 năm kinh nghiệm: Ngay từ khi thị trường chưa tiềm năng như hiện nay, Đại Nam liên tục đổi mới và không ngừng nỗ lực để giữ vững vị thế trong lĩnh vực. Trải qua chặng đường dài, Đại Nam hiểu rõ thị trường cũng như nhu cầu, thị hiếu của khách hàng. Khi lựa chọn chúng tôi, khách hàng sẽ được thỏa mãn mọi yêu cầu.
- Cam kết về chất lượng sản phẩm: Đại Nam cam kết với khách hàng về chất lượng của tất cả các sản phẩm. Van cổng kèm công tác giám sát do Đại Nam phân phối có đầy đủ CO, CQ cùng với chứng từ chứng minh nguồn gốc, xuất xứ.
- Minh bạch về chính sách bán hàng: Bên cạnh chất lượng sản phẩm, Đại Nam còn có chính sách bán hàng minh bạch. Khi mua hàng, khách hàng sẽ được tư vấn đầy đủ về giá bán, thời gian bảo hành, đổi trả, giao hàng,… Mọi thắc mắc của khách hàng sẽ được đội ngũ nhân viên giải đáp, tư vấn rõ ràng.
8. Kết luận
Van cổng tín hiệu điện kèm công tắc giám sát là giải pháp không thể thiếu trong các hệ thống công nghiệp hiện đại, nơi yêu cầu tính giám sát và an toàn vận hành luôn được đặt lên hàng đầu. Việc tích hợp cảm biến tín hiệu giúp người quản lý nắm rõ tình trạng van mà không cần kiểm tra thủ công, đồng thời giúp hệ thống vận hành linh hoạt, an toàn và tiết kiệm chi phí.
Nếu bạn đang tìm kiếm một giải pháp giám sát van hiệu quả cho hệ thống của mình hoặc cần được tư vấn chi tiết hơn về dòng van này, đừng ngần ngại liên hệ Đại Nam để được hỗ trợ nhanh chóng và chuyên nghiệp.
CÔNG TY CỔ PHẦN KHOA HỌC CÔNG NGHIỆP ĐẠI NAM
Địa chỉ: Tầng 3, Tòa Nhà An Bình 1 , số 3 Trần Nguyên Đán, P. Định Công, Quận Hòang Mai, Hà Nội.
Hotline/ Zalo/ Viber: 0383478272
Email: thuhuyen@dainamco.vn
