Van cổng ty nổi là một trong những dòng van cổng phổ biến, được ứng dụng rộng rãi trong các hệ thống cấp nước, phòng cháy chữa cháy (PCCC), lọc hóa dầu, hóa chất, đóng tàu,… nhằm thực hiện chức năng đóng mở dòng lưu chất. Một trong những ưu điểm nổi bật của loại van này so với van cổng ty chìm là khả năng quan sát trực quan trạng thái đóng/mở thông qua phần ty lộ ra ngoài.
Tổng quan về van cổng ty nổi
Van cổng ty nổi (Rising Stem Gate Valve) là một loại van cổng chuyên dùng để điều tiết dòng lưu chất, hỗ trợ cho việc lưu thông dòng chảy diễn ra thuận lợi và nhanh chóng. Đặc trưng dễ nhận biết nhất của loại van này chính là trục ty nổi được lộ ra ngoài khi vận hành, cho phép người dùng quan sát rõ trạng thái hoạt động của van thông qua vị trí lên/xuống của ty.
Tiêu chuẩn thiết kế:
- Mặt bích kết nối: EN 1092
- Kiểm tra áp lực: EN 12266-1
Thông số kỹ thuật:
- Áp suất làm việc: 16bar
- Áp suất test vỏ van: 24bar
- Áp suất test gioăng: 17.6bar
- Nhiệt độ tối đa: +80 °C
- Ứng dụng: Nước, hơi,…
Loại van này có thể được sử dụng linh hoạt trong nhiều hệ thống dẫn lưu chất khác nhau, đặc biệt là trong PCCC, cấp thoát nước, xử lý nước, và các nhà máy tại khu dân cư hoặc khu công nghiệp. Nhờ thiết kế bằng nhiều loại vật liệu như gang, thép, inox, đồng,… van có thể thích nghi tốt với nhiều môi trường chất lỏng, khí nén, hơi gas, kể cả những dòng lưu chất có tính ăn mòn cao như axit, bazo, muối,…
Van cổng ty nổi có phần đĩa gắn cố định với trục van, giúp thao tác đóng mở diễn ra mượt mà hơn. Van thường được vận hành bằng tay quay vô lăng. Khi xoay tay quay, trục ty sẽ di chuyển tịnh tiến lên hoặc xuống nhờ cơ chế ren ngoài ở trục và ren trong tại bậc trung, từ đó thay đổi trạng thái đóng/mở của van.
Báo giá các loại van cổng ty nổi phổ biến
Tùy thuộc vào môi trường sử dụng và loại lưu chất trong hệ thống mà người dùng cần lựa chọn van cổng ty nổi có vật liệu và cấu tạo phù hợp. Nhằm đảm bảo hiệu quả vận hành và hạn chế sự ăn mòn, rò rỉ hay hư hỏng thiết bị do phản ứng hóa học, nhà sản xuất cung cấp đa dạng chủng loại van theo chất liệu.
Một số dòng van phổ biến hiện nay bao gồm:
Van cổng ty nổi gang DN50 – DN400
Van được chế tạo bằng gang, là loại thông dụng nhất hiện nay do độ bền cao và khả năng chịu được áp lực trong nhiều môi trường. Hơn nữa, giá thành thấp khiến sản phẩm phù hợp với cả hệ thống công nghiệp lẫn dân dụng.
Vật liệu thường dùng là gang cầu được phủ sơn epoxy màu xanh hoặc đỏ. Phần trục ty làm bằng thép không gỉ, nhằm tăng khả năng chống chịu thời tiết và hóa chất.
Kích cỡ van đa dạng từ DN50 đến DN400, gioăng làm kín bằng EPDM, chịu nhiệt đến 80°C, áp lực làm việc PN16. Van cổng ty nổi thương hiệu TLSH-France là dòng được đánh giá cao và sử dụng phổ biến tại Việt Nam.
Van làm từ gang cầu, áp lực PN16, kích thước từ DN50 – DN400, phù hợp với nhiều hệ thống ống nước khác nhau.
Các kiểu vận hành van cổng ty nổi
Van cổng ty nổi có thể được vận hành bằng tay quay hoặc bằng điều khiển tự động, tùy vào điều kiện và yêu cầu sử dụng:
1. Van tay quay
Đây là loại phổ biến nhất. Người vận hành chỉ cần xoay vô lăng bên trên van theo chiều mở hoặc đóng. Thiết kế đơn giản, dễ thao tác nên thường được ứng dụng trong nhiều hệ thống từ dân dụng đến công nghiệp.
2. Van điều khiển điện
Loại van này sử dụng bộ điều khiển điện để thực hiện đóng/mở tự động. Khi cấp điện, van sẽ mở để lưu chất chảy qua, và sẽ tự động đóng lại khi ngắt dòng điện. Thường dùng điện áp 220V hoặc 24V. Van điện phù hợp với những hệ thống khó thao tác bằng tay, đặc biệt là nơi có hóa chất độc hại hoặc lắp đặt âm tường.
3. Van điều khiển khí nén
Sử dụng áp suất khí nén để đóng mở van một cách nhanh chóng, đảm bảo an toàn và giảm thiểu tác động thủ công. Tuy nhiên, để hoạt động hệ thống cần có thiết bị cấp khí nén, làm cho chi phí đầu tư cao hơn.
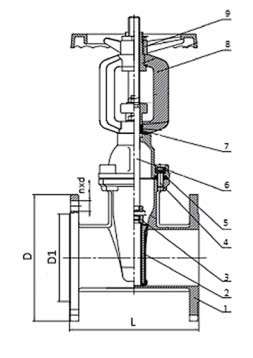
Cấu tạo van cổng ty nổi


Cấu tạo bao gồm các bộ phận chính như:
- Tay quay (vô lăng): Dùng để xoay đóng/mở van. Gắn trực tiếp với trục bằng chốt hoặc ren vặn. Có thể thay thế bằng bộ điều khiển điện/khí nếu cần.
- Thân van: Làm bằng gang, thép hoặc inox tùy môi trường sử dụng. Kết nối với hệ thống ống bằng mặt bích để tăng độ kín và chắc chắn.
- Cửa van (đĩa van): Đảm nhận vai trò chính trong việc ngăn hoặc cho phép dòng chảy. Vật liệu làm từ gang, thép, inox, hoặc bọc cao su để tăng khả năng kín.
- Trục ty: Nổi ra ngoài, gắn cố định với đĩa van. Thường làm bằng thép không gỉ hoặc inox để chịu mài mòn tốt khi tiếp xúc với môi trường.
- Gioăng làm kín: Ngăn rò rỉ lưu chất. (có những giăng của van khi van mở cũng ngăn rò lưu chất như Zoăng cổ van, giăng nối thân & nắp)
Nguyên lý hoạt động
Van cổng ty nổi hoạt động theo nguyên lý tịnh tiến của trục ty. Khi người vận hành xoay tay quay ngược chiều kim đồng hồ, trục van được nâng lên nhờ liên kết ren với tay quay, kéo đĩa van lên và cho phép lưu chất chảy qua. Ngược lại, xoay theo chiều kim đồng hồ sẽ khiến đĩa van hạ xuống và đóng lại.
Với van điều khiển điện hoặc khí nén, thay vì xoay tay thủ công, thiết bị sẽ tự động thay đổi trạng thái đóng/mở theo tín hiệu điều khiển mà không cần can thiệp trực tiếp.
Ưu điểm và nhược điểm của van cổng ty nổi
Cũng như các thiết bị kỹ thuật khác, van cổng ty nổi sở hữu cả điểm mạnh và điểm yếu nhất định. Việc hiểu rõ các yếu tố này sẽ giúp người dùng lựa chọn phù hợp hơn.
Ưu điểm:
- Thiết kế trục nổi giúp dễ quan sát trạng thái vận hành của van.
- Trục ty lộ ra ngoài, hạn chế tiếp xúc trực tiếp với lưu chất độc hại bên trong.
- Được chế tạo từ đa dạng vật liệu, phù hợp với nhiều môi trường, kể cả môi chất ăn mòn.
- Có nhiều kiểu vận hành (tay quay, điện, khí nén), đáp ứng các nhu cầu khác nhau.
- Gọn nhẹ, dễ lắp đặt và bảo dưỡng, thích hợp cho nhiều ứng dụng từ công nghiệp đến dân dụng.
- Vật liệu chống ăn mòn, tăng tuổi thọ thiết bị.
Nhược điểm:
- Trục ty nổi dễ bị ảnh hưởng bởi thời tiết, bụi bẩn nếu không được bảo trì định kỳ.
- Không phù hợp với môi trường có lưu chất đặc, nhiều cặn như bùn, khí, hơi.
- Khi vận hành, trục van nâng cao lên chiếm không gian, gây bất tiện với hệ thống hạn chế về diện tích.
- Chủ yếu sản xuất từ DN50 trở lên và không có kiểu nối hàn hoặc ren, hạn chế ứng dụng trong không gian nhỏ hẹp.
Ứng dụng của van cổng ty nổi
Van cổng ty nổi là một trong những thiết bị không thể thiếu trong nhiều hệ thống đường ống hiện đại, từ các công trình dân dụng cho đến các hệ thống công nghiệp quy mô lớn. Với chức năng chính là kiểm soát lưu lượng dòng chảy bằng cách đóng hoặc mở hoàn toàn dòng chất, loại van này mang lại hiệu quả vận hành cao, giúp đảm bảo an toàn, ổn định và tiết kiệm chi phí vận hành cho toàn hệ thống.
Một trong những điểm nổi bật giúp van cổng ty nổi được ưa chuộng là khả năng quan sát trực quan trạng thái đóng mở nhờ phần trục ty lộ ra bên ngoài. Cấu tạo này không chỉ giúp người vận hành dễ dàng kiểm tra tình trạng hoạt động mà còn hỗ trợ quá trình bảo trì, bảo dưỡng được thực hiện nhanh chóng và chính xác hơn. Đồng thời, thiết kế chắc chắn, độ bền cao và khả năng chống ăn mòn tốt cũng giúp van hoạt động hiệu quả trong các môi trường khắc nghiệt, đặc biệt là các hệ thống có chứa lưu chất độc hại hoặc có độ ăn mòn cao.
Nhằm đáp ứng nhu cầu sử dụng đa dạng, van cổng ty nổi hiện nay được chế tạo từ nhiều loại vật liệu như gang, thép, inox, đồng… cùng với dải kích thước rộng và nhiều dạng kết nối như lắp bích hoặc điều khiển bằng tay quay, điện, khí nén,… Điều này giúp thiết bị dễ dàng tích hợp với nhiều hệ thống và điều kiện vận hành khác nhau trong thực tế.
Một số ứng dụng phổ biến của van cổng ty nổi:
- Hệ thống xử lý nước thải: Van được sử dụng để kiểm soát dòng chảy trong các hệ thống xử lý nước thải, đặc biệt trong những môi trường có chứa hóa chất, tạp chất hoặc lưu chất có tính ăn mòn cao như axit, bazo, muối,...
- Hệ thống cấp nước sạch và sinh hoạt: Nhờ khả năng đóng kín và vận hành ổn định, van cổng ty nổi được ứng dụng rộng rãi trong các trạm cấp nước, phòng bơm, hệ thống ống dẫn nước cho các khu dân cư, khu đô thị và nhà máy.
- Ngành thủy lợi và tưới tiêu: Van góp phần kiểm soát lưu lượng trong các kênh mương, đập, cống, hồ chứa… giúp điều phối lượng nước phục vụ cho việc tưới tiêu, điều tiết thủy văn hoặc cấp nước cho các vùng khô hạn.
- Hệ thống phòng cháy chữa cháy (PCCC): Trong các tòa nhà, khu công nghiệp và công trình công cộng, van cổng ty nổi được sử dụng bắt buộc theo QCVN02 cho phòng bơm để theo dõi dễ dàng trạng thái van nhanh chóng, đóng mở các tuyến ống cấp nước chữa cháy nhanh chóng và hiệu quả.
- Ngành công nghiệp chế biến và sản xuất: Van thường xuất hiện trong các nhà máy chế biến thực phẩm, hóa chất, dược phẩm, xăng dầu… nơi cần thiết bị có khả năng chịu áp lực, nhiệt độ cao và kháng hóa chất tốt.
- Các hệ thống ngầm hoặc có độ sâu lớn: Đặc biệt phù hợp với các hệ thống đường ống ngầm, dưới nước hoặc ở những vị trí khó tiếp cận. Trục ty nổi cho phép người vận hành dễ dàng xác định trạng thái van ngay cả khi van đặt ở vị trí khuất hoặc sâu dưới lòng đất, ví dụ như hệ thống ống ngầm dưới lòng sông hoặc kênh rạch.
Lưu ý khi lựa chọn van cổng ty nổi
Để chọn được loại van phù hợp, người dùng cần cân nhắc kỹ lưỡng các yếu tố như:
- Chất liệu chế tạo: Phù hợp với tính chất của lưu chất (nước sạch, hóa chất, bùn, khí…).
- Kích thước van (DN): Tương thích với đường kính ống của hệ thống.
- Áp suất và nhiệt độ làm việc: Đảm bảo khả năng chịu lực và chịu nhiệt trong quá trình vận hành.
- Kiểu điều khiển: Lựa chọn giữa tay quay, điều khiển điện hoặc khí nén tùy theo nhu cầu sử dụng.
- Không gian lắp đặt: Đặc biệt lưu ý vì van cổng ty nổi cần không gian chiều cao để trục ty di chuyển khi vận hành.
- Thương hiệu, nhà cung cấp và chi phí: Lựa chọn đơn vị cung cấp uy tín giúp đảm bảo chất lượng, chính sách bảo hành và giá thành hợp lý.
Tóm lại, van cổng ty nổi là giải pháp hiệu quả, đa năng và an toàn trong việc điều khiển dòng chảy cho rất nhiều hệ thống kỹ thuật khác nhau. Việc hiểu rõ ứng dụng và lựa chọn đúng loại van sẽ giúp hệ thống hoạt động ổn định, bền bỉ và tiết kiệm chi phí bảo trì dài hạn.
